![]() |
- HMJG 干熱滅菌柜
- 提交訂單
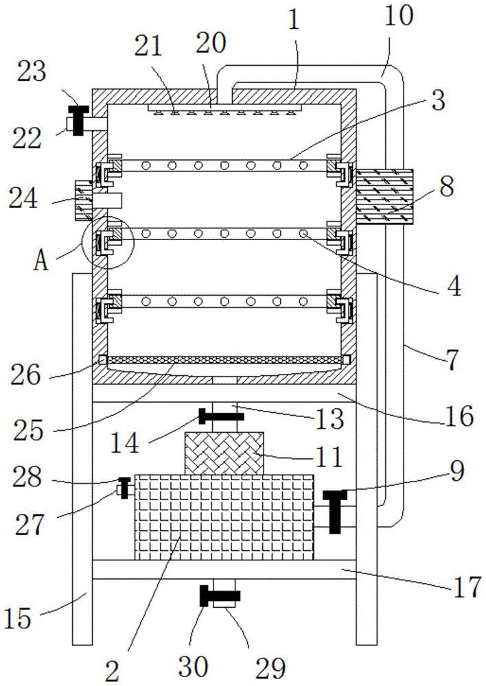
HMJG 干熱滅菌柜主要采用高溫熱空氣作為滅菌介質,這種滅菌方式適用于耐高溫且不耐濕的物品,如用于制藥化工食品行業的西林瓶、安瓿瓶、鋁瓶、金屬及玻璃器皿件滅菌去熱原和固體物料干熱滅菌。
|
產品名稱 |
HMJG干熱滅菌柜 600×500×750 |
HMJG干熱滅菌柜 800×800×1000 |
HMJG干熱滅菌柜 1000×1000×1200 |
HMJG干熱滅菌柜 1000×1000×1500 |
|
工作室尺寸(mm) |
600×500×750 |
800×800×1000 |
1000×1000×1200 |
1000×1000×1500 |
|
外形尺寸mm |
1600×900×1750 |
1800×1200×1950 |
2050×1400×2150 |
2050×1600×2450 |
|
加熱功率(kw) |
9 |
15 |
22 |
28 |
|
循環風機功率(kw) |
1.1 |
2.2 |
3.0 |
4.0 |
|
補充風機功率(kw) |
0.06 |
0.18 |
0.18 |
0.25 |
|
排濕風機功率(kw) |
0.18 |
0.25 |
0.37 |
0.75 |
|
設計溫度范圍(℃) |
室溫~300 |
|||
|
潔凈等級 |
100級 |
|||
|
循環風機風量(m3/h) |
2540 |
2700 |
2900 |
3200 |
|
補充風機風量(m3/h) |
300 |
408 |
408 |
408 |
1、若遇規格、結構變更,以本公司提供的實時數據為準
1、HMJG干熱滅菌柜采用了安全穩定的氣動啟閉系統;
2、采用先進的密封方式,能夠保證門的良好密封,簡便實用,有效地避免了滅菌物品被污染;
3、本系列產品的進風、排風系統,和腔體一側都裝有H14級別的耐高溫高效過濾器,過濾效率達到99.995%,保證腔室內達到百級;
4、腔體主過濾器采用了創新的組合式密封工藝,在有效提高產品效率的同時,使其拆卸維修更加簡便;
5、腔體內部層流板采用獨特的孔分布來控制水平層流風,有效地提升了熱能利用率和溫度均勻性;
6、設備采用了先進的全自動控制系統,自動控制溫度,保證產品外表溫度≤室溫+15℃;
7、獨立的超溫保護系統,有效的保證設備安全;
8、本產品預留有多功能驗證接口可以進行塵埃粒子驗證測試與溫度分布測試等;
9、腔體主過濾器設有PAO檢測口;
10、多種冷卻方式,提高了工作效率。
11、內腔室采用獨特的密閉焊接方式,內腔體四角圓弧過渡結構,無死角易清潔。
用途:
![]()







